Instant Gratification
Fall 2019
Columbia University, GSAPP
Critic / Mark Wigley (Dean Emeritus, Columbia GSAPP)
Seminar / Extreme Design
Investigation / Self-braodcasting
︎
Unrelated Real Incident
I posted my final studio drawings on Instagram a few days ago. My account went viral. Not enough to get thousands of likes, in fact, I didn’t even make it to a hundred likes a post. Yet for my standards, I went viral. A colleague responded by liking all the drawings and sending me the message “your work is amazing, it’s like archi-porn”. I understood her sentiment. I thanked her for the appreciation but the after taste was very uncomfortable. Archi-porn.
Black Mirrors
Dan Graham’s pavilions transformed art and sculptures from being complete and standalone artifacts that were appreciated by and audience. They were incomplete pieces, only to become whole under the presence and perception of the audience, who were now the art themselves. Drawing an “apophenic” relationship between the mirrors and the visitors, what Dan Graham created were giant bezel-less televisions where people saw others and people saw themselves. The two-way mirror. Superimposed the two ends of the broadcast spectrum – the visual and viewer.
What if Dan Graham was the creator of Black Mirror? The superimposition of the two ends is where the title and the series’ analogy draw its inspiration. What Dan Graham created through his installation and even captured in much of his photographs of screens, glass and mirrors was the television and veiled a critique of social contracts – a blurring of virtual and real imagery into a two-way mirror. Every second of the superimposed reflection and display as potential content.
Dan Graham’s established two-way mirror turned into the environmental embodiment of the TV. This can further be mutated into Marshal Mcluhan’s “TV is a sensation” analogy; a series of synesthetic experiences where visuals are established as a master sense and sync with sound, taste, touch, and smell to establish a virtual environment, easily mistaken for a real one. It fulfilled the TV’s destiny of bringing people closer to distant environments.
The argument on broadcasting has oscillated between democracy and over-generation of content. Television began as a device for displaying moving images. Introduction of public access television established localization of content and authorship to an otherwise centrally produced and nationally propagated system. The television’s identity of being a novel and potentially addictive device transformed into novel and potentially addictive media. Local television began to get flooded with local news, events, talent, imagery, and art. Televised broadcasting was now available in local attire, created by everyone, for everyone, and of everyone, completing the route to the democracy of televised content. With the generation of content from every nook and cranny television became a phenomenon, shedding its noun status and embodying one of a verb [-ing] and a process [-ism]. Playing on new grammatical and synaptic relationships, the broadcast was a broadcast of televising that started from western civilizations and proliferated to all grooves of collective man/womankind, some controlled, others pseudo-democratic. Imagine a massive alien ship casting a shadow on the earth, planning to invade. The only difference, this alien ship is a massive television and the shadow is called a broadcast. Maybe too literal, maybe too childish, maybe to referential, and maybe too skewed, but what is important to understand is that the invasion was successful.
“Then in your life, there comes the darkness
There’s a spacecraft blocking out the sky
And there’s nowhere to hide
You run to the back and you cover your ears
But it’s the loudest sound you’ve ever heard
And are we trapped? Rag-doll, cloth people
We are helpless to resist
Into our darkest hour”1
Synesthesia to Apophenia
Apophenia is “a psychiatric term describing the tendency to perceive meaningful connections between unrelated things or patterns in random formation.”2 Subjectivity is the new sexy. The ability to draw new meanings from the quotidian, familiar, famous and obvious objects, events, spaces, people, and systems the appeal of the contemporary artist, curator, architect, and filmmaker.
The piece, Let The Games, by Revital Cohen and Tuur Van Balen, literary and psychologically mirrors the Apophenia it intends to explain. Starting with an extract of the phrase “let the games begin”, this splitting mimics a snap out of the gaming reality into an alternate dimension, perhaps a behind-the-scenes-reality masqueraded behind a controlled gaming environment [this may be just another figment of my apophenic ailment]. The inner reality represents itself as a series of prose, poetry, or just phrases; a sequence of unspoken truths that begin by identifying the physical environment and pass through a schizophrenic distillation. It ends with a loss of words, just blackened sounds indicating a mental malfunctioning. As the mind corrupts itself under the systemic introduction of this apophenic contemporary condition, it snaps back to the outer reality, beginning to play and bet, never to stop seizing. Society’s perpetual schizophrenia establishes a corrupted cycle of gratification or ‘insta-gratification’ where we are never completely happy, satisfied, or entertained and everything is a game and can be betted upon.
Architecture Reformatted [three tales]




images / 01. opening theme, Black Mirror (https://en.wikipedia.org/wiki/Black_Mirror);
02. Public Space/Two Audiences, Dan Garham, 1976 (https://www.macba.cat/en/exhibitions-activities/exhibitions/public-space-two-audiences); 03. Marshall McLuhan, 1965 (https://www.cbc.ca/archives/marshall-mcluhan-s-theory-of-the-global-village-1.4701467); 04. The Odds, Revital Cohen and Tuur Van Balen, 2019 (https://www.stanleypickergallery.org/exhibitions/upcoming-revital-cohen-tuur-van-balen/)
The ability to refer, interpret, and televise collectively is a powerful tool that became soft propaganda in the architectural realm.
One / Mobile Offices, Hans Hollein
Hans Hollein’s Mobile Offices represented the picture of contemporary TV-society relationships – everything is a TV show. Critiquing surveillance, mass media, and self-broadcast, Hollein assigned the bedroom a “reproduction only” status and fused the living room, workspace, and public space into an amorphous zone of production. It propagated the new Italian domestic space, open, ever-expanding, and defined by objects and content. But what is crucial to gather from this is contemporary civilization watching itself work, produce and broadcast, following an outward spiral of altered work and the same broadcast.
Two / Mind Expander Series, Haus Rucker Co.
Preparing a presentation on analyzing Haus Rucker Co.’s body of work, I concluded that they followed the ethos of building utopias [a popularizing European movement] and a public participation angle to connect with their viewership. What I felt was subliminally veiled to the viewer was the power of propagation or the power of broadcast. The European architectural design, discourse, and academic scene had exploded and for newbies to establish themselves soon in this scene, they had to broadcast loud. They indirectly adapted [Mcluhan’s] synesthetic expression and a [Hollein’s] TV series embodiment, placing themselves and their users as characters in reality TV. These bubbles were television portals capturing their analogies of cleaner air but simultaneously captured the scene of people watching TV.
Three / Super Harbour, Bjarke Ingels Group
The Danish architecture scene was on a sabbatical or long siesta when Bjarke Ingels’ multi-referential “Yes Is More” analogy hit the world. Nobody knew of him and this analogy until the launched a curated video of his project ‘Super Harbour’3. The video opened with referencing the iconic Star Wars font transition and voiceover, followed by soft animation and soft propaganda for a superport. They have subsequently standardized their project output to be reached the masses through comic books, videos, GIFs [Graphics Interchange Format], images, and words [written and spoken].
Instant Gratification
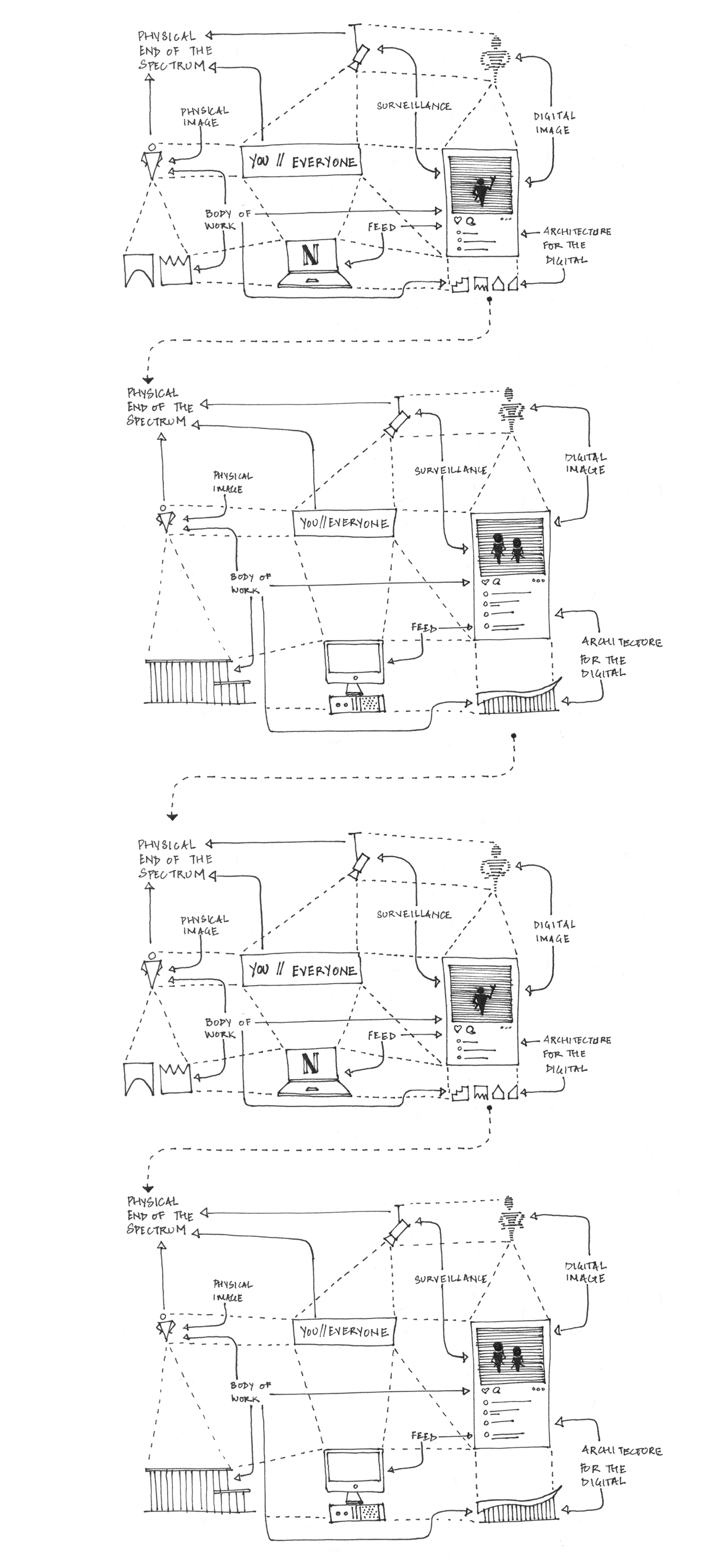
The contemporary relationship between television and architecture seems to be a never-ending one. Following trends since the late 1960s, the television has mutated and branched off to popularized platforms [Intagram, Behance, Issuu, portfolio websites, Pinterest, Google Images, etc.] and formats [images, videos, GIFs, books, texts, AR/VR, PDFs, etc.]. There is an evident reversal of this relationship where once TV projected the architecture and body of work, now architecture and the body of work is made for the screen. The overindulgence in Ingrammable media has reformatted architectural design and space to be projected and read through the screen. From the established “hedonistic consumption”4 by Revital Cohen and Tuur Van Balen, the field of architecture has reached a point of hedonistic production to meet the consumption. We are situated in Dan Graham’s two-way mirror talking about our work, watching our work watched by others, and then being watched by others watching their work. And with the over-generation of content, the need for insta-gratification has magnified. The value of the image has ceased to exist with the need for consuming more. McLuhan's synesthesia has mutated to one of Apophenia where we reinterpret and then re-reference to generate more content to be presented on the screen, watching our work watched by others and then being watched by others watching their work. Everything ceases to become an image, locally produced, globally consumed, then globally reproduced after referencing and then consumed again where we talk about our work, watching our work watched by others and then being watched by others watching their work. Mass pandemonium and Mcluhan’s synesthesia transforming into Cohen and Van Balen’s Apophenia and eventually into mass paranoia of seeing more, knowing more, and producing more, unfortunately all incestuously where we talk about our work, watching our work watched by others and then being watched by others watching their work.

Hyperlink [archi-porn]
Architecture is getting consumed wholly under the broadcast of TV. Drawing a hyperlink form my real and unrelated incident leads me to the discomfort of “archi-porn”. Under visual synesthesia, apophenic, and subjective sex appeal and paranoia of consuming and producing more, architecture is cascading into a televised consumable for narcissistic propaganda but is titled under entertainment or multi-media content. With content flooding the web and zillions of referential synapses, there is no author or viewer. We are all watching ourselves in a mirror to look better for ourselves and gratify ourselves instantly and then gratify again by enjoying feigned or short-lived popularity.
Architecture and porn, “archi-porn”. Television is turning the viewers and makers of architectural content and space into goldfish. Short attention, short memory.
×
References
1 _ Yorke, Thomas Edward, Philip James Selway, Edward John O'Brien, Colin Charles Greenwood, and Jonathan Richard Guy Greenwood. “Decks Dark.” AZ Lyrics. Radiohead, 2016. https://www.azlyrics.com/lyrics/radiohead/decksdark.html.
2 _ Revital Cohen and Tuur Van Balen, “Lune Eclipse, Oasis Dream,” REVITAL COHEN & TUUR VAN BALEN, accessed July 8, 2019, https://www.cohenvanbalen.com/work/luna-eclipse-oasis-dream# target="_blank">www.cohenvanbalen.com/work/luna-eclipse-oasis-dream#)
3 _ “HAV - Super Harbour,” vimeo.com, June 20, 2013, https://vimeo.com/68779775)
4 _ Revital Cohen and Tuur Van Balen, “Lune Eclipse, Oasis Dream,” REVITAL COHEN & TUUR VAN BALEN, accessed July 8, 2019, https://www.cohenvanbalen.com/work/luna-eclipse-oasis-dream#)
︎